The growth path of “stable basic market+innovative growth pole” makes it an outstanding example of resilience in the current volatile market environment~
Although the pharmaceutical sector has performed quite actively this year under the wave of Assets revaluation in China, the overall market in the traditional Chinese medicine sector is relatively backward, especially in the field of traditional Chinese medicine medical services.
On the one hand, this is affected by the consumer pressure environment, and the performance of some companies in the industry is under pressure; on the other hand, market capital is more inclined to pursue innovative drugs, medical devices, etc. with “hard technology” attributes, and attention to the model has declined compared to the traditional Medical Services sector.

(Source: Futu Market)
However, in this context, Gushengtang, a leading TCM Medical Services provider listed on the Hong Kong stock market, has shown rare resilience, and its buyback movements in the capital market have continued to send Bullish Signals.
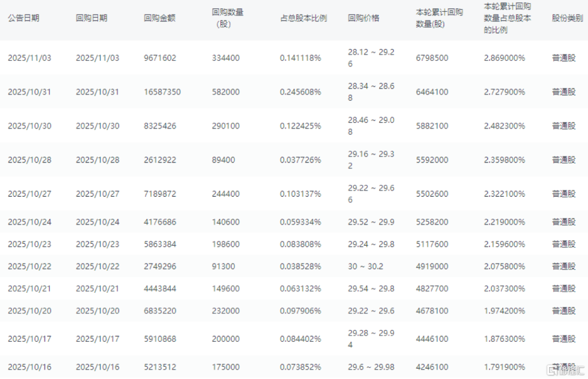
As can be seen, in the fourth quarter of 2025, Gushengtang's repurchase operations have become more frequent. Throughout October, repurchase records were recorded on almost every trading day. Statistics show that since this year, Gushengtang has made a total of 59 repurchases, totaling 9.4608 million shares, with a cumulative repurchase amount of nearly HK$0.3 billion.

(Source: Futu Market)
Next, let's analyze the company's Operation resilience from three perspectives.
01
Performance resilience: excellent profit quality and Cash/Money Market flow
First of all, it's easy to see that when the industry as a whole was under pressure, Gushengtang's performance highlighted its high-quality growth core.
Judging from the interim Earnings Reports data previously released by the company, it achieved revenue of 1.495 billion yuan in the first half of this year, an increase of 9.52% over the previous year; realized Net income of 0.152 billion yuan, a year-on-year increase of 41.90%; in addition, the company's gross margin increased by 1.24 percentage points to 30.63%.
As can be seen from the core data, in a context where the external market environment is still complex, Gushengtang has achieved a significant increase in profitability, which is reflected in its refined management level and comprehensive optimization of Operation efficiency.
What is more indicative of the company's health is Gushengtang's Cash/Money Market flow. Earnings Reports show that in the first half of the year, the company's Operation Cash/Money Market flow surged 111% year-on-year to 0.3 billion yuan. At the same time,free cash flowIt also surged 466% to 0.21 billion yuan. This data strongly verifies the powerful “hematopoietic” function of Gushengtang's main business.

(Source: Futu Market)
Judging from the operating Cash/Money Market ratio (that is, net Cash/Money Market flow/operating revenue from operating activities), in the first half of 2025, Gushengtang's operating cash ratio reached 19.79%, nearly double the same period last year (10.28%), which is a significant increase. The sharp improvement in this ratio is also strong evidence that the company's Operation quality has fundamentally improved. It shows that the actual Cash/Money Market Inflow that can be brought about by each unit's revenue has increased dramatically, providing a solid guarantee for the company's sustainable development and resilience to risks.
02
Business Resilience: Highly Sticky Memberships and Steady Co-Store Growth
If impressive financial data reflects the company's “performance resilience,” then the reason behind it is rooted in more definitive “business resilience.” By building a highly sticky customer ecosystem and a high-quality endogenous growth model, Gushengtang has built a deep moat to cope with market fluctuations.
The latest Company Business Data also provides strong proof of this. Earlier, the company revealed that in the third quarter of 2025, the number of visits by Gushengtang customers bucked the trend and increased by about 8.2%, reaching about 1.607 million.
Looking further at the mid-term Earnings Reports, it is easy to see that the driving force behind the company's growth does not come from the rapid expansion of stores, but rather from the improvement in operating efficiency of existing stores and the deep exploration of customer value. This also reflects a fairly healthy and sustainable endogenous growth. At the data level, Gushengtang's total offline business revenue in the first half of the year was 1.37 billion yuan, an increase of 11.1% over the previous year. Among them, the same store accounted for 97.3% of the performance, while the new store andmergers and acquisitionsStore revenue accounts for only 2.7%. The same store revenue growth rate continues to be higher than the expansion rate of new stores, showing strong Operation resilience and profit quality.

(Source: Company Overview)
Under this steady growth model, the highly sticky membership system has become the “stabilizer” of the business. According to the data, the company's membership return rate remained high at 85.8%. The number of member outpatients reached 1.08 million in the first half of the year, an increase of 15.1% over the previous year, and the membership revenue contribution reached 0.62 billion yuan, an increase of 6.3% over the previous year. As can be seen, the company's first-line business base is very stable, and its services are deeply embedded in users' long-term health management, forming strong customer stickiness and anti-cycle demand.
The continued vitality of the business is inseparable from the support of core medical personnel. As of the first half of this year, Gushengtang's team of doctors had expanded to 0.0417 million, with a significant increase of 23.8% over the previous year for offline practitioners. At the same time, the number of famous medical studios set up by the company reached 141. This perfect “old with new” mechanism not only ensures the quality and heritage of medical services, but also establishes a solid medical resource barrier for the long-term development of the business.
03
Innovation Resilience: AI and Globalization Drive New Growth
Facing changes in the market environment, Gushengtang is actively exploring new growth paths through “technological innovation” and “overseas layout” two-wheel drive.
Currently, AI technology is profoundly reshaping the service model and industrial pattern of the Medical industry, showing broad commercial prospects. In this context, Gushengtang is committed to deeply integrating AI technology with traditional Chinese medicine, and the company has successively created Chinese medicine AI aliens and AI health assistants.
As of August 2025, Gushengtang has released 10 major Chinese medicine AI components, covering the 8 major traditional Chinese medicine specialty fields of oncology, dermatology, gastroenterology, otolaryngology, andrology, sleep psychology, classical medicine, and orthopedics. Empowering traditional Chinese medicine through AI technology, the company has not only increased the supply of high-quality traditional Chinese medicine services, improved the efficiency of diagnosis and treatment, but also opened up new performance growth points.
At the same time, the company continues to make breakthroughs in its global layout. As the first overseas destination, in July 2025, Gushengtang's Singapore store revenue increased 119 percent year-on-year, verifying the replicability of its model overseas.
It is worth mentioning that in August of this year, Gushengtang's self-developed hair care granules successfully passed certification by the Singapore Health Sciences Authority (HSA) and successfully marketed, which also indicates that the company has achieved a Global Strategy upgrade from “service overseas” to “service+product two-wheel drive”.
04
epilogue
All in all, Gushengtang has proven its resilience in a countercyclical environment with high-quality profit levels, strong Cash/Money Market flow generation capacity, and a highly sticky member economy system. At the same time, it has also shown the market's future growth potential through commercialization of “AI+ Traditional Chinese Medicine” and successful initial exploration of globalization.
This “steady basic market+innovative growth pole” growth path also makes it an outstanding example of resilience in the current volatile market environment.
Now let's take a look at Gushengtang's value opportunities. The following highlights cannot be ignored.
First, the smooth flow of policies provides the company with room for long-term development.
As the construction of a healthy China accelerates during the “15th Five-Year Plan” period, traditional Chinese medicine, as an important component of new quality productivity, will be fully exploited. Recently, Jiangxi Province issued the “Implementation Opinions on Improving the Quality of Traditional Chinese Medicine and Promoting the High-Quality Development of the Traditional Chinese Medicine Industry”, and places such as Zhengzhou and Nanyang in Henan have successively issued local support policies for the traditional Chinese medicine industry, forming a systematic support system from the central government to the local authorities. These policy dividends have brought rare development opportunities to industry leader Gushengtang, which is on the industry circuit.
Second, valuation restructuring opportunities.
Combined with adjusted Net income data, Gushengtang's current dynamic PE is only about 15 times, and according to the broker's performance expectations, the company's corresponding PE is expected to drop further to 12 times by 2026. Obviously, this valuation is not only below the level that matches its growth, but also contrasts sharply with its potential in terms of AI technology and global layout. Considering that Kushengtang's AI technology premium and global potential have yet to be fully priced, the company's valuation is expected to be restructured as the market further understands and recognizes the company's innovative capabilities and global layout.
Finally, the continued strengthening of shareholder returns has also continued to increase the company's attractiveness in the capital market.
Gushengtang's mid-year dividend in 2025 was 75.76 million yuan, with a dividend ratio of 50% of Net income. Combined with the company's continued repurchase actions, it further demonstrated that management attached great importance to Shareholder interests and positive feedback. In the current market environment, Gushengtang's steady and active shareholder return policy is undoubtedly another big plus.